西林瓶高速裝盒機說含明書裝入功能結構設計含設計圖非常詳細

本文闡述了一款新型高速藥瓶自動裝盒機的設計,通過分析高速藥瓶裝盒機的工藝流程, 包括總體結構設計、取盒開盒機構設計,并進行仿真,可滿足高速裝盒的要求。
如采用間歇式自動裝盒機,藥板輸送帶、紙盒輸送帶等機構在高速狀態下,一動一停會存在不穩定因素,且對藥瓶沖擊非常大使之受損。
本文在我司成熟的藥瓶自動裝盒機上,對其取盒開盒機構進行優化設計,以提高藥瓶自動裝盒機裝盒速度。
新型藥瓶裝盒機的功能及結構要求
由于藥品行業的特殊性,要求裝盒機除自動開盒、裝盒、封盒功能外,還須具備說明書自動裝入功能,具體要求這里不做闡述。
主要功能為:藥瓶說明書的自動折疊與傳送、藥盒成型與傳送、將藥瓶與說明書裝入藥盒、藥盒兩端紙舌封裝、打批號生產計數、成品輸送、對無說明書或空盒進行剔除及計數等。
機械結構主要包括:藥瓶輸送機構、說明書折疊機構、說明書輸送機構和紙盒開盒機構、說明書和藥瓶裝盒機構,紙盒封口機構及打印批號機構。圖一所示為自動裝盒機的工藝流程圖。

圖一:自動裝盒機的工藝流程圖
高速藥瓶裝盒機工作原理及總體結構的設計
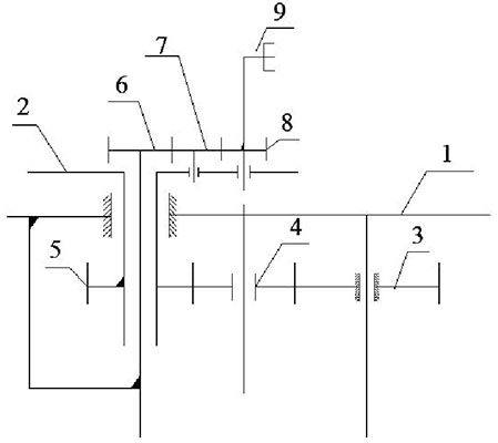
圖二為裝盒機整體結構圖,由PLC程序控制,藥瓶通過藥瓶輸送鏈(3)輸送。與此同時,說明書折疊裝置(1)進行說明折疊,通過說明書輸送裝置(2)進行輸送,同時紙盒儲料倉(4)中的紙盒,通過開盒機構(5)將紙盒打開并放置紙盒傳送鏈上。紙盒、藥瓶及說明書同步傳送至連續推料機構(6)處,通過連續推料機構,將說明書和藥瓶一起推入紙盒內,實現產品進盒,而后進入打碼機構(7)打印批號和日期,再由封盒機構(8)對紙盒進行封盒,最后通過出盒機構輸送,并完成出盒。

圖2 新型藥瓶裝盒機總體結構示意圖
1.說明書折疊機構;2.說明書傳送機構;3.藥瓶輸送鏈;4.紙盒料倉;5取盒開盒機構;6.推桿機構;7.打印批號機構;8.插舌機構;9. 出盒機構
藥瓶高速裝盒機取盒開盒機構的設計
從藥瓶裝盒機的工作原理及實際生產運用中可發現,取盒機構是裝盒機的“瓶頸",其效率直接影響到整臺裝盒機的效率,因此,提升高速裝盒機速度的突破口在于提升取盒機構。
廣州利悅包裝的高速裝盒機的三頭旋轉式取盒開盒機構很好的解決了藥瓶裝盒機開盒慢的瓶頸,以下為大家介紹該機構。
首先做一個大轉盤,然后將吸盤的數量由原有的一套改為三套,三套吸盤完全均勻分布,剛好與吸盒過程中三個關鍵點的位置相對應;每個吸頭的取盒周期為大盤每轉動一周,每個吸頭完成一個取盒過程。這樣,在相同主軸轉速的情況下,該機構的取盒效率為原有取盒機構效率的三倍。該取盒機構用輪系實現了三尖瓣線的運動軌跡,取盒時將紙盒向下拉,不受供盒架的位置限制,結構緊湊。您可通過 利悅牙膏高速裝盒機 的具體案例視頻,對機構查看了解。

圖3 新型取盒開盒機構
1.大轉盤;2.小轉盤;3.固定齒輪;4.轉盤齒輪;5.轉向齒輪1;6.主動齒輪;7.轉向齒輪2;8.從動齒輪;9.真空吸頭
新型取盒開盒機構原理圖見圖三。三套小轉盤(2)(為表示方便,圖中只顯示一個小轉盤)均勻分布在大轉盤1上。由齒輪(6)、齒輪(7)、齒輪(8)組成一行星輪系,固定齒輪(3)、轉盤齒輪(4)和轉向齒輪(5)組成另一個行星輪系,驅動小轉盤(2)進行公轉的同時又進行自轉,吸頭連桿(9)安裝在從動輪(8)上,所以從動連桿在自轉的同時也進行公轉,控制吸頭形成圓周運動,并在指定的位置實現指定的動作。由于行星輪系結構具有傳動效率高、運行平穩、易于加工等特點。具體工作原理如下:
小轉盤(2)安裝在大轉盤(1)上,固定齒輪(3)控制轉盤(1)的自轉和主動齒輪(6)的自轉。小轉盤(2)在隨著大轉盤(1)旋轉時,轉盤齒輪(4)也控制它進行自轉。要求轉盤旋轉一周,吸頭旋轉一周,完成一個取盒周期,即大轉盤和吸頭保持同步,在一周內,小轉盤相對大轉盤轉動兩周真空吸頭進行公轉和自轉。所以要達到設計動作要求,必須要控制好傳動比。
設固定齒輪(3)的齒數為Z3,轉盤齒輪(4)的齒數為Z4,小轉盤(2)的速度為n2,大轉盤的速度為n1,滿足n2=2n1,則:

計算求得:Z3:Z4=3;
對取盒開盒模型進行三維造型,并運用Solid?works軟件分析其運動軌跡。
圖四為小轉盤中行星齒輪機構,圖(5)為大轉盤中齒輪傳動。取盒開盒機構靠真空氣泵的通斷來控制盒子的吸與放。本取盒機構有三套吸盤,分別有獨立的密封系統及氣體傳輸控制系統。在主軸上依次通有三道長短不同的氣槽,主軸的進氣口始終在各自對應的氣腔里旋轉,只需獨立控制各個進氣口的通斷,就可以控制吸頭的吸放盒。

圖四:小轉盤中行星齒輪設計; 圖五:大轉盤中齒輪傳動設計;
圖六是取盒開盒機構的裝配示意圖,整體結構共用到16個齒輪。所有零件完成正確的裝配后,對該運動進行仿真:先進行仿真參數的設置。添加原動力,點擊馬達,選擇算例分析,齒輪配合,重合同軸等。將大轉盤的轉速設為60 r/min,即仿真周期1s,取盒剛好完成一個周期的取盒運動。因該機構有三個吸頭,所以速度可以達到180 r/min;設置完所有參數后,點擊模擬運算,可以查看機構的運動情況,當運動結束后,點擊結果。圖七為添加馬達,圖8為仿真設置,圖9為結果顯示的速度和加速度曲線。

圖6 新型取盒開盒機構三維裝配示意圖

圖7 添加馬達

圖8 仿真運動設置

圖9 速度、加速度曲線
從仿真的運動過程來看,運動軌跡基本符合三瓣線的運動軌跡;
從速度曲線來看,機構速度比較均勻,在關鍵動作時沒有速度的跳躍,基本平穩運行;
從加速度曲線來看,加速度沒有突變,在速度變化處也能平穩運行,不會產生沖擊。
上一篇: 如何劃分自動裝盒機的種類
下一篇: 白酒立式裝盒機裝盒構設計含設計圖非常詳細

